专注联轴器研发与制造 打造联轴器行业领军品牌
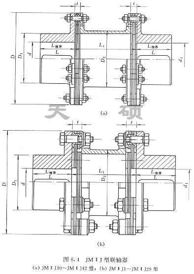
JMⅡJ型接中间轴型膜片联轴器 (JB/T 9147-1999)
订做各种分体,整体联轴器膜片(工期1-7天)
●膜片联轴器是由几组膜片(不锈钢薄扳)用螺栓交错地与两半联轴器联接,每组膜片由数片叠集而成,膜片分为连杆式和不同形状的整片式。
● 膜片联轴器靠膜片的弹性变形来补偿所联两轴的相对位移,是一种高性能的金属弹性元件挠性联轴器,不用润滑,结构较紧凑,强度高,使用寿命长,无旋转间隙,不受温度和油污影响,具有耐酸、耐碱、防腐蚀的特点,适用于高温、高速、有腐蚀介质工况环境的轴系传动,广泛用于各种机械装置的轴系传动,如水泵(尤其是大功率、化工泵)、风机、压缩机、液压机械、石油机械、印刷机械、纺织机械、化工机械、矿山机械、冶金机械、航空(直升飞机)、舰艇高速动力传动系统,经动平衡后应用于高速传动轴系已比较普遍。
● 膜片联轴器与齿式联轴器相比,没有相对滑动,不需要润滑、密封,无噪声,基本不用维修,制造较方便,可部分代替齿式联轴器。JZM型膜片联轴器是我国重点推广应用的高性能挠性联轴器,且工业发达国家已普遍采用。在实际应用中一般采用接中间轴型,以提高两轴线偏移补偿性能。

JMⅡJ型接中间轴型膜片联轴器基本参数和主要尺寸 mm(JB/T 9147-1999)
